I began working on this project by taking a look into my own personal qualities in an attempt to find an aesthetic which matches my personality. I noticed that I have a rather utilitarian work ethic that coincides nicely with my orderly cleanliness. I like to have everything around me organized in such a fashion that maximizes productivity and efficiency. These personality traits are reflected by the defining characteristics of the mid-century modern aesthetic. This aesthetic has an emphasis on clean lines that provide order, ergonomics that improve functionality, and natural colors that integrate balance and harmony into design. It seemed fitting that I chose this look to be my desired aesthetic.

[1]
I then began thinking of possible project ideas. I knew that I had to create something relatively cheap with a dynamic component that would give me joy. I often find myself fidgeting with desk toys while pondering school work throughout the day. I find that it helps me relax my racing mind. It was at this time that I realized the answer was right there in my hands. I would make a desk toy, and what better toy to create than a Newton’s cradle.

[2]
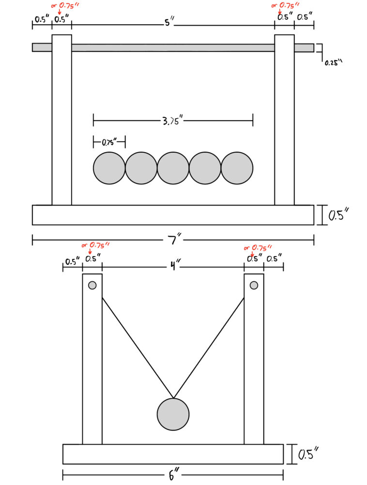
I have loved these simple fidgets since I was a child, and my interest in them only grew as I gained physics knowledge in my education. I began thinking of all the different ways I could approach designing a mid-century modern Newton’s cradle. I envisioned a precisely crafted stained wood base with metal supports evenly protruding out of it to support the steel balls in a pendulum fashion. I could sit this hand-crafted Newton’s cradle on my desk and take delight in the hypnotic cadence of the balls’ motion. I could picture all of this in my head, but I needed to get it down on paper. The drawing below is my initial, quick sketch of my design.

The sketch itself is rather rudimentary, but I believe it gets the point across. I also knew that whatever I made would mean more to me since it would require my time and effort to create. I began researching how to make my vision come to reality. I read a number of online DIY blog posts, watched a few related videos, and even began finding materials. Unfortunately, sourcing materials for the bent metal uprights seemed to be a difficult task. I also knew that metal bending operations come with a fairly low degree of precision. For this reason, I decided to make a design change and add wooden vertical supports with aluminum support beams spanning between them. This can be seen in the updated sketches below.

This design achieved everything I wanted. It had the straight edges, ergonomics, and natural colors that gave it the functional and organized qualities which are prevalent in the mid-century modern aesthetic. It had a simplistic form which I was confident I could manufacture well. And, I knew I would enjoy having it on my desk after completing the project. With all this in mind, I moved on to the manufacturing portion of the project.
Sources:
[1] “Viv’s Home Office Tour: Midcentury Modern Inspired.” VIV & TIM, 25 July 2023, www.vivandtimhome.com/home-office-tour-midcentury-modern-style-decor/.
[2] “The Famous Newton’s Cradle, Handcrafted Wood, the Original.” ANALYTICAL SCIENTIFIC, LTD EST 1970, www.analyticalsci.com/store/p798/The_Famous_Newton%27s_Cradle%2C_Handcrafted_Wood%2C_the_Original.html. Accessed 17 Apr. 2024.


2 Comments. Leave new
Since this is a fidget toy, would you like to add any adaptability? Such as allowing for different balls so that they create different sounds? I am curious of the cost of these steel balls. Otherwise, I believe this is quite a neat project!
I love the project Oliver and I can relate to wanting to build or design something that you will be able to enjoy or use. Although you think they are rudimentary, your sketches are awesome and they would make it easy to replicate this if an individual wanted to. Where do you plan on getting your materials after your initial sourcing difficulties?