My top 5 priorities for the project are to capture the desired aesthetic, create an operational device, ensure a manufacturable toy, have it fit on my desk, and let it bring me joy. Unfortunately, I failed to achieve my desired aesthetic during the upcycle project, and I would like to have redemption. I believe that I have already done a good job setting myself up for this by selecting the proper materials for the job, which I was unable to do in the upcycle project. The final product should have the characteristic straight lines and wooden features of the mid-century modern aesthetic. However, I have not started looking for wood to use for the project yet. This could potentially be an area of trouble, but I highly doubt it given the school’s resources available to me.

[1]

[2]
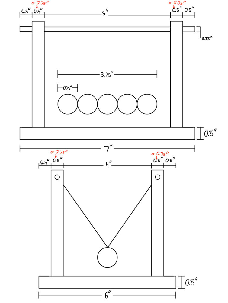
I also think the design should end up operating fairly well with my selected materials. The steel bearing balls and fluorocarbon fishing line have material properties that help create the most inelastic collision possible for my Newton’s cradle. I could potentially have trouble tying the fishing line to the support beams in such a manner that the balls are spaced correctly. I will need to be very careful during this process to ensure functionality.
The simple design of the cradle has a dual purpose of matching the mid-century modern aesthetic and simplifying the manufacturing process. Because of this, I should have minimal issues while building it. I can easily cut, fasten, sand, and stain the wood components together to create the overall frame. I may have some wood splitting while fastening the support columns to the base plate, but I have been considering increasing the size of the support columns to avoid this risk.

The base plate of the cradle is currently dimensioned to be 6” by 7”. I set these values by designing the entire assembly around the ¾” diameter of the steel bearing balls. I did not want to go any smaller than this to avoid having to attach tiny eyelets to the balls. This size is a little bit too big to fit on my current, small desk, but there is a small table next to my dest that would hold the cradle nicely.
My final project priority is that I want my final product to bring me joy. It is tough to say whether or not it will, especially now when I am balancing this project along with many other highly important school and life related tasks. With that being said, I appreciate it when hard work pays off, and I think my Newton’s cradle could be a physical symbol of that for myself in the near future.
Sources:
[1] Dodds, George. “What Does Midcentury Modern Even Mean These Days?.” Arch Daily, 8 September 2023, https://www.archdaily.com/1006527/what-does-midcentury-modern-even-mean-these-days
[2] Amazon.Com: Ensley Mid Century Modern Coffee Table| Science …, https://www.amazon.com/Century-Rectangular-Storage-Proofing-Rounded/dp/B08R5XVX2BAccessed 13 Mar. 2024.


2 Comments. Leave new
Oliver,
I think your 5 priorities are very realistic and well-considered! One that you mentioned is that you’d like the toy to bring you joy. Will this be fufilled by satisfying the other 4 priorities? Or is there something else you are looking for in this project? Or do you not even know yet?! Any of those are totaly okay, I’m just curious. Good luck with the rest of the project! I am looking forward to seeing the final result.
Hi Oliver ,
You’ve done a great job outlining your project’s priorities and thoughtful material selection! I’m curious about how you’ll capture the mid-century aesthetic and manage the assembly’s precision. It’s also interesting to consider how the design might fit your desk space better. Your approach to finding joy in this project is really inspiring. Keep up the great work!